2025年12月08日发版公告
1 POS 版本号:【V1.1.40】
1.1 撞餐功能
- 功能路径:点菜界面
- 使用场景:在香港等简餐中,为追求点菜速度及吸引客人,在点的菜品符合套餐设置时,自动按套餐价格加车,即省去在套餐里查找及客人决策的过程,也按套餐价格给到了客人优惠;
- 功能简介:
- 在 BO 的撞餐设置里,设置每个撞餐套餐包含的菜单组及菜品数量;
- 点菜过程中,检测到加车的菜品符合撞餐的套餐时,自动按套餐加车,价格按撞餐设置的套餐价格;
- 如果菜品数量多余撞餐里设置的单菜数量,则做拆菜处理;
- 示例图:
同菜单不同菜单组
1.2 POS 优化
- 功能路径:
- 使用场景:
- 功能简介:
- 优化追加配送单,支持发起自配送单;
- POS-适配“结账方式增加税务编码字段”;
- 自动标记取餐完成支持所有的账单类型,不再仅仅是自提账单;
- 待确认订单语音提醒修复POS 开台下单后,线上再加菜没有语音提醒的问题;
- 支持开放平台的单子,下单到 POS 后的附加费重算;
- 示例图:
待确认订单语音提醒修复:
线上H5订单

1.3 支持套餐头单独收取打包费
- 功能路径:点菜功能
- 使用场景:套餐不再按套餐明细收取多个打包费,可以按套餐头金额收取一次打包费
- 功能简介:
- BO 套餐收取打包费支持按套餐头及套餐明细菜品收取的设置;
- 按套餐头收取时,整个套餐打包,按套餐头金额收取一个打包费金额;
- 按套餐明细收取时,可以选择哪些明细菜品收取打包费;收取多个打包费;
- 示例图:
1.4 对接 BO 定义的副屏图片大小
- 功能路径:副屏显示
- 使用场景:在副屏显示广告屏或订单屏的图片,可以根据图片位置大小,自动适配客户上传的不同比例的图片;
- 功能简介:
- 闲置屏/广告屏:按副屏分辨率大小选择 BO 上传并裁切的同比例的图片;
- 订单屏右边的广告图片也按不同副屏比例,计算广告图片大小,选择不同比例的图片;
2 POS/报表
2.1 指标调整 - 营业指标:营业额改为总销售额
- 功能路径:POS报表
- 使用场景:指标完全对齐toast和chowbus
- 功能简介:
- 我们现版指标和Peppr、ChowBus和Toast已经很接近,本次指标优化只需把营业额 改成 总销售额,口径不变
- 示例图:
2.2 关闭钱箱 - 自动日结支持自动关闭钱箱
- 功能路径:自动日结 + 关闭钱箱
- 使用场景:钱箱收支不允许跨营业日
- 功能简介:
- BO业务开关
- 开启自动关闭钱箱的业务
- 自动日结
- 开启自动关闭钱箱的业务
- 自动日结
- 自动关闭门店钱箱
- 清点金额 = 账面金额
- 钱箱关闭人 = 钱箱打开人
- 关闭时间 = 当前时间
- 钱箱状态 = 关闭
- 盈亏金额 = 0
- 自动关闭门店钱箱
- BO业务开关
- 示例图:
2.3 交易明细报表 - 加营业日和桌台号筛选和数据列 POS 【1.1.40.0】
- 功能路径:交易明细报表
- 使用场景:通过营业日筛选交易明细方便对账
- 功能简介:
- 查询项
- 新增桌台号筛选
- 新增营业日期查询
- 数据列
- 新增数据列桌台号
- 查询项
- 示例图:
3 POS/打印
3.1 组件优化:菜品组件新增针对套餐子菜的分组选择
- 功能路径:餐厅管理-模版管理-通用组件-菜品组件-业务参数
- 使用场景:套餐打印
- 功能简介:
- 在“套餐子菜显示顺序”下面新增“显示套餐分组名称”
- 当“套餐子菜显示顺序”为按套餐组排序,则下面只会显示“显示套餐组名称”业务开关,默认关闭,开启后,套餐中的子菜会显示套餐组名称行,名称行显示为1列,可以设置字体的样式,左中右对齐方式
- 当“套餐子菜显示顺序”切换为“按出餐顺序排序”时,则将“显示套餐组名称”关闭后隐藏
- 示例图:
3.2 组件优化:堂食客用结账单、自提结账单、外卖商家联、外卖顾客联、退款单-发票组件优化
- 功能路径:餐厅管理-模版管理-堂食客用结账单/自提结账单/外卖商家联/外卖顾客联/退款单
- 使用场景:西班牙税控打印结账单
- 功能简介:
- 将“发票信息(GET YOU BILL)”分组改为“发票信息”通用分组组件,适配已知的涉及报税的发票信息打印
- 将”发票信息“通用组件添加所有需要打印的票据类型中,即堂食客用结账单、自提结账单、外卖商家联、外卖顾客联、退款单
- 示例图:
3.3 组件新增:礼品卡购买、礼品卡储值、会员储值新增“支付+退款(抵消显示)”
- 功能路径:餐厅管理-模版管理-礼品卡购买、礼品卡储值、会员储值
- 使用场景:预收款票据支持组合支付的打印
- 功能简介:
- 新增“支付+退款(抵消显示)”组件,用于预付款的组合支付后按结账方式进行合并显示
- 示例图:
3.4 打印优化:针对有分步标识的菜品打印时会在对应的菜品下方显示分步标识
- 功能路径:餐厅管理-模版管理-菜品组件
- 使用场景:点菜宝针对西餐会新增菜品分步功能,主要是实现未下单菜品的菜品顺序调整结果的保存和指定菜品分步标识保存,并透传给打印侧用于制作单和传菜单按照分步的结果进行打印
- 功能简介:
- 针对菜品顺序有调整时,打印顺序优先按照调整后的需求打印
- 针对有分步标识的菜品(单菜品、时价菜、临时菜、称重菜、套餐子菜),在对应的菜品下方打印一条虚线
- 分步状态的标识对应的业务参数:
3.5 组件新增:在结账单中新增“支付信息”通用组件
- 功能路径:餐厅管理-模版管理-结账单(堂食客用结账单、自提结账单、外卖商家联、外卖顾客联)
- 使用场景:目前针对各支付通道(ANZ支付、adyen、EFTP(B扫C)八达通等)目前都是通过增加专属组件进行实现,组件会很多,工作重复,为提升组件的复用性和兼容性
- 功能简介:
- 在刷卡信息中新增“支付信息(通用)”组件,该组件只在非CN区域进行显示
- 所有数据均由服务提供,如果没有值则隐藏不打印
- 点击该组件之后,右侧的业务属性可以切换支付方式来设置不同不样式,每次切换都会在中间的配置模版显示对应的结果
- 可切换的支付有:八达通、ANZ、adyen和其他(默认)
- 切换八达通、ANZ和adyen时,在中间模版的配置样式取原有的组件样式,当切换到其他时,则在中间模版中显示“XXX支付信息”表头的table
- 将“八达通支付信息”、“ANZ-支付信息”、“Adyen刷卡信息”针对所有区域默认隐藏
- 在刷卡信息中新增“支付信息(通用)”组件,该组件只在非CN区域进行显示
- 示例图:
4 点菜宝 【v1.0.94】
4.1 点菜宝-核销三方平台券优化:支持点击劵数量进行批量输入核券张数
-
功能路径:点菜宝-核销三方平台券核销
-
使用场景:核销三方平台券核销
-
功能简介:
- 支持点击劵数量进行批量输入核券张数
-
示例图:
4.2 点餐宝-点菜页面新增“临时菜”功能入口
- 功能路径:点菜宝-点菜页面
- 使用场景:临时菜点菜
- 功能简介:
- 新增“临时菜”功能入口
- 示例图:
4.3 点菜宝支持针对未下单菜品的排序&分步功能
- 功能路径:点菜宝-购物车
- 使用场景:针对未下单菜品进行顺序调整和分步(划线)操作
- 功能简介:
- 只针对未下单菜品可以操作菜品显示顺序的调整和分步操作
- 分步支持多选,选择后会在对应菜品下方显示划线
- 菜品排序调整为单品与套餐之前的排序拖拽调整和同一个套餐子菜间顺序调整
- 点击下单后打印会按照结果进行打印制作单显示
- 示例图:
5 KDS
5.1 Android【V1.1.38.13】
5.2 支持加急置顶 【依赖pos38最新版本】
- 此功能windows上个版本已上,可看11月10日版本发版公告
5.3 支持合并模式增加仅规格合并模式
- 此功能windows上个版本已上,可看11月10日版本发版公告
5.4 支持合并模式增加配置XX时间内来单合并模式
- 此功能windows上个版本已上,可看11月10日版本发版公告
5.5 优化 菜状态图标尺寸规范
- 此功能windows上个版本已上,可看11月10日版本发版公告
5.6 优化设置:超时设置UI 调整
- 此功能windows上个版本已上,可看11月10日版本发版公告
5.7 优化已完成页,【撤回菜品】字体颜色调整
- 此功能windows上个版本已上,可看11月10日版本发版公告
6 Emenu【V1.1.50】
6.1 开台流程优化 - APP启动&结账后开台&桌台页开台优化 + 结账后开台倒计时进入开台页
- 功能路径:开台流程
- 使用场景:基于不同使用模式,优化APP启动&结账后开台&桌台页开台流程
- 功能简介:
- APP启动流程
- 【桌台绑定模式】开启
- 绑定桌台未结账
- 到点单页
- 绑定桌台已结账
- 走结账后流程
- 绑定桌台未结账
- 【桌台绑定模式】未开启
- 跳到店员端桌台页
- 【桌台绑定模式】开启
- 结账撤台转台后流程
- 【桌台绑定模式】开启
- 【不需录入顾客人数】未开启
- 弹窗倒计时
- 文案:A1桌用餐结束,3秒后开台点餐
- 确认:3秒结束 或 确认按钮:进入开台页
- 如开启了【POS开单后才能点菜】,则进入呼叫服务员开台弹窗交互
- 取消:返回店员端桌台页
- 适配【进桌台页需服务员登录】开关
- 弹窗倒计时
- 【不需录入顾客人数】开启
- 弹窗
- 文案:A1桌用餐结束,是否点餐?
- 确认:确认按钮 到 点单页
- 如开启了【POS开单后才能点菜】,则进入呼叫服务员开台弹窗交互
- 取消:返回店员端桌台页
- 适配【进桌台页需服务员登录】开关
- 弹窗
- 【不需录入顾客人数】未开启
- 【桌台绑定模式】未开启
- 跳到店员端桌台页
- 【桌台绑定模式】开启
- 桌台页开台流程
- 【不需录入顾客人数】未开启
- 到开台页
- 【不需录入顾客人数】开启
- 到点单页
- 桌台页开台不需要输入PIN码
- 因进入桌台页已执行过【进入桌台页是否输入PIN】开关逻辑
- 开台人正常记录为登录到桌台页的员工
- 【不需录入顾客人数】未开启
- 自助餐点餐
- 有自助餐主档 + 【不需录入顾客人数】开启
- 此时逻辑按【不需录入顾客人数】关闭处理
- 有自助餐主档 + 【不需录入顾客人数】开启
- APP启动流程
- 示例图:
6.2 显示税后菜价 - 可配置点单页和菜详页显示税后菜价(依赖pos39最新版本)
- 功能路径:点单页、菜详页、锅底页
- 使用场景:日本门店合规要求
- 功能简介:
- BO业务开关
- 新增业务开关:日本强制展示含税价格,日本门店会默认开启
- BO菜品档案
- 套餐菜品:需开启按套餐总价计税
- 电子菜单
- BO业务开关开启 + 菜品就餐类型有价外税
- 点单页、菜详情页、锅底页
- 单菜、套餐和配菜:非会员价和会员价会显示税后金额
- 点单页、菜详情页、锅底页
- BO业务开关开启 + 菜品就餐类型有价外税
- BO业务开关
- 示例图:
6.3 购物车已下单 - 显示下单批次时间线
- 功能路径:购物车已下单
- 使用场景:顾客在购物车看下单批次
- 功能简介:
- 购物车已下单加下单批次时间线分割
- 示例图:
6.4 菜单和菜品售卖 - 适配BO跨天售卖配置
- 功能路径:菜品和菜品
- 使用场景:菜单和菜品需跨天售卖
- 功能简介:
- 菜品售卖时段支持跨天
- 菜单售卖时段支持跨天
- 示例图:
过了时间后

6.5 POS开台才能点餐 - 呼叫服务员交互调整
- 功能路径:POS开台 + Emenu点餐
- 使用场景:Emenu呼叫服务通知POS开台
- 功能简介:
- Emenu开关POS开台才能点餐开启
- 呼叫服务员开台后,需倒计时等待10秒后,才可二次呼叫服务员
- Emenu开关POS开台才能点餐开启
- 示例图:
6.6 开台页 - 加取消开台按钮
- 功能路径:开台页
- 使用场景:需在开台页退出到店员端换台开台
- 功能简介:
- 开台页加取消开台按钮
- 示例图:
7 Online
7.1 付费权益包购买完成后跳转
- 功能路径:付费权益包购买后跳转
- 功能简介:付费权益包购买完成后,当前会返回「权益包购买页」,用户点击弹窗内的“知道了”会关闭弹窗,用户可能会误以为没有购买成功,本期优化为用户点击的“知道了”就,跳转「个人中心页」可查看权益包到账情况。
- 示例图:
7.2 自提外卖-订单详情页展示取餐/配送时间
- 功能路径:自提外卖-订单详情页
- 功能简介:自提外卖,用户下单后,支持在订单详情页内查看预计取餐/送达时间
- 示例图:

7.3 小程序-京东券
- 功能路径:小程序
- 功能简介:小程序支持使用京东券
- 示例图:
7.4 自提外卖-h5确认订单页-样式优化
- 功能路径:自提外卖-h5确认订单页
- 功能简介:
- 取餐/配送时间,区分立即取餐/配送和预约取餐/配送,拆成2个选项,供用户选择,更明显
- 自提-外带,姓名填写格式,国内&香港,按照1段式输入,其他国家/区域,仍按照2段式输入
- 示例图:

7.5 BO-缺省图装修
- 功能路径:BO装修-缺省图
- 功能简介:支持对部分缺省场景,自定义缺省背景&提示文案(本期仅支持小程序,h5静待上线)
- 示例图:
7.6 BO-二维码/链接下载支持多语
- 功能路径:BO-小程序/h5-二维码/链接
- 功能简介:支持按照bo语种,下载对应语言的文件
- 示例图:
7.7 h5-「添加/编辑地址页」支持重新选择地址
- 功能路径:h5-地址编辑/新建
- 功能简介:已输入地址,支持重新选择
- 示例图:
7.8 自提外卖-确认订单页餐具支持隐藏
- 功能路径:自提外卖-确认订单页
- 使用场景:门店对餐具不是免费提供,需要用户付费购买,或门店直接不支持提供餐具
- 功能简介:
- bo装修-确认订单页,支持配置是否『支持餐具』
- 支持餐具时,支持配置是否「允许顾客选择数量」
- 示例图:
有餐具 | 无餐具 |
|---|---|
![]() | ![]() |
7.9 打包费-套餐级别
- 功能路径:商品打包费
- 功能简介:套餐商品,打包费支持按整个套餐收取
- 示例图:
8 基本档
8.1 【商品管理】支持「撞餐模式」
- 功能路径:商品管理-撞餐商品
- 使用场景:在香港等简餐中,为追求点菜速度及吸引客人,在点的菜品符合套餐设置时,自动按套餐价格加车,即省去在套餐里查找及客人决策的过程,也按套餐价格给到了客人优惠;
- 功能简介:
- 根据撞餐规则,指定多个菜单组条件,自动组合套餐商品,如:云吞面 + 柠檬茶、叉烧饭 + 奶茶、猪扒包 + 冻柠乐,都是经典组合,可以配置主食+茶饮,自动组合成撞餐商品 “快速点餐、快速用餐” 的需求。
- 若同时命中多个撞餐规则,按最优规则排序,同时过滤高于优惠后金额撞餐商品,示例如下:
- 最优排序撞餐规则:商品
金额
促销优惠
优惠后金额
A
10
0
10
B
8
2
6
C
7
1
6
小计
25
3
22
- 过滤高于优惠后金额撞餐规则:撞餐
套餐金额
撞餐优惠
最优排序
套餐1=A+B
16
0
3
套餐2=A+C
15
1
2
套餐3=A+B+C
20
2
1
撞餐
套餐金额
撞餐优惠
过滤原因
套餐4=B+C
15
-3
B+C实际优惠后金额为12,套餐设置金额大于12
📌注:白名单功能,可联系基本档产品负责人
- 示例图:
8.2 【套餐商品】支持单独配置打包费
- 功能路径:商品管理-套餐商品
- 使用场景:套餐不再按套餐明显收取多个打包费,可以按套餐头金额收取一次打包费
- 功能简介:
- 套餐商品支持配置打包费规则:
- 按套餐明细分别收取:按选择套餐商品明细,每个商品分别收取打包费,所有商品明细打包费合计为套餐商品打包费
- 按整个套餐收取:所有套餐商品统一收取1份打包费
- 套餐商品支持配置打包费规则:
- 示例图:
8.3 【商品管理】扩展属性支持500字符并支持多语
- 功能路径:商品管理-商品管理
- 使用场景:扩展属性可填写内容限制过少
- 功能简介:
- 商品管理扩展属性,由原有100字扩展最多支持500字,并支持多语,包含:存储条件、主要成分、产地
- 批量修改商品多语,支持:存储条件、主要成分、产地
- 批量导出/导入多语,商品和口味做法多语,支持:存储条件、主要成分、产地
- 示例图:
8.4 【商品管理】易用性功能优化
- 功能路径:商品管理-商品管理
- 使用场景:商品管理模块快速创建商品易用性功能优化
- 功能简介:
- 套餐组/配菜组/口味做法,支持自动排序
- 商品定制项(如口味做法和配菜分组),火锅锅底,套餐组名称不能重复
- 增加「保存并继续添加」操作
- 示例图:
8.5 【菜单管理】显示POS颜色
- 功能路径:商品管理-菜单管理
- 使用场景:显示菜单组和菜单商品的POS颜色
- 功能简介:
- 显示菜单组和菜单商品的POS颜色
- 示例图:
8.6 【批量修改商品】支持修改POS颜色
- 功能路径:
- 商品管理-商品管理-批量修改更多商品属性
- 商品管理-商品管理-批量修改更多其他属性
- 商品管理-门店商品管理-批量修改更多商品属性
- 商品管理-门店商品管理-批量修改更多其他属性
- 使用场景:批量修改商品POS颜色
- 功能简介:
- 批量修改更多商品属性:适用于多个商品统一修改相同POS颜色
- 批量修改更多其他属性:适用于多个商品分别修改不同POS颜色
- 示例图:
8.7 【服务区域】新增「区域服务费」规则
- 功能路径:
- 餐厅管理-服务区域
- 商品管理-附加费(服务费)
- 使用场景:因所有区域未指定服务费时或已选服务费被删除或归档后,将会收取全部服务费,但原有展示方式无法看到具体收取的服务费
- 功能简介:
- 门店视角下,服务区域和附加费中,增加显示「区域服务费」规则:
- 全部服务费(含非桌台模式):所有区域或非桌台模式时,均收取所有服务费类型的附加费
- 指定区域服务费(非桌台模式不收费):根据规则指定区域收取服务费,不配置区域则不收取服务费
📌注:单个规则已失效时,对应已选区域不收取服务费;若所有规则均已失效时,点餐端默认按"全部服务费"执行
- 门店视角下,服务区域和附加费中,增加显示「区域服务费」规则:
- 示例图:
8.8 【业务参数】单次订购数量限制,支持商品范围
- 功能路径:餐厅管理-业务参数
- 使用场景:自助餐场景下单盘数限制,同时排除酒水饮料和特别分类,客人必点酒水无需占用数量限制
- 功能简介:
- 限购规则可以创建多条,最多创建2个规则
- 适用于线上点餐和电子菜单。其中电子菜单 v1.1.13(POS v1.1.26)以上版本仅支持[规则1],暂不支持商品范围。
- 示例图:
8.9 【下载管理】根据角色限制查看和下载
- 功能路径:基础服务-下载管理
- 使用场景:多个员工账号虽有同一视角权限,但数据权限可能会不同,导出的数据会存在不一致情况,避免相互查看到不在数据权限范围内的情况
- 功能简介:
- 针对当前操作人的账号,限制只能查看和下载当前操作人自己的记录
📌注:历史导出数据不做权限控制
- 示例图:
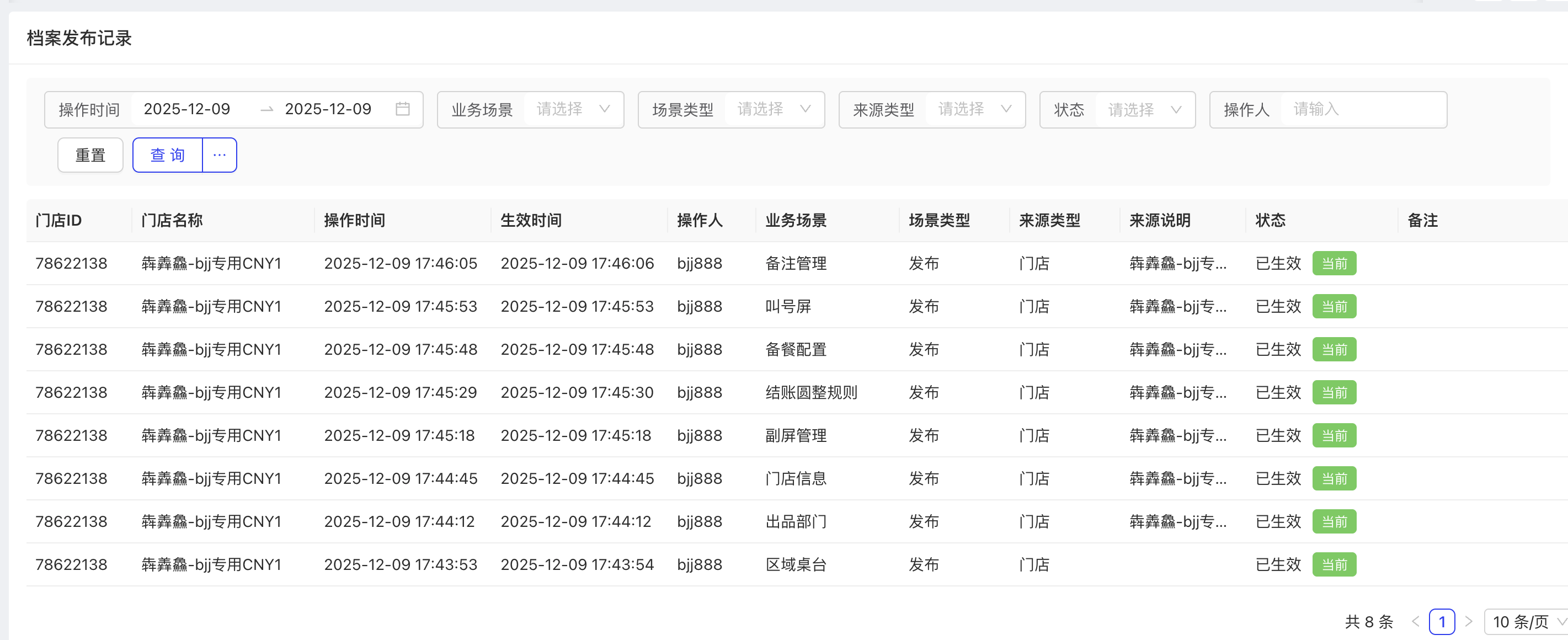
8.10 【档案发布记录】支持查看门店档案发布记录
- 功能路径:基础服务-档案发布记录
- 使用场景:根据业务场景,查看商户中心最新配置的内容,POS生效状态已经是否为当前使用版本
- 功能简介:
- 业务场景:出品部门、结账方式、记账科目、打印规则、区域桌台、备注管理、叫号屏、备餐配置、结账圆整规则、副屏管理、门店信息、出品部门等
- 场景类型:
- 初始:创建门店后,需要初始发布POS的任务记录,如:结账方式、备注管理等
- 升级:由系统发起原档案升级
- 发布:由操作人员对档案的增加、删除、修改或发布等操作的任务记录,如:区域桌台、出品部门等
- 复制:点击保存并复制到其他门店操作的任务记录,如:备餐配置、小费管理等
- 克隆:门店克隆场景专用类型,通过门店克隆可克隆多个不同业务场景档案的任务记录
- 示例图:
9 会员营销
9.1 【会员】会员群体-新增 合并群体
- 功能路径:数据-群体-合并群体
- 功能简介:
- 通过合并群体,可以将相同的群体人员做群体的合集,并集,差集处理
- 示例图:
9.2 【会员】权益包-优化展示字段
- 功能路径:权益包-销售数据
- 功能简介:权益包同步增加退卡门店,操作人等字段,方便客户使用
- 示例图:
9.3 【会员】卡方案/卡等级-可分别配置等级排序
- 功能路径:卡方案/卡等级-会员权益-权益拖拽排序
- 功能简介:可按商户需求配置对应权益展示顺序
- 示例图:
9.4 【会员】导入会员-支持导入来源和渠道
- 功能路径:会员管理-导入
- 功能简介:方便客户在导入时,标记会员历史招募来源和渠道
- 示例图:
9.5 【会员】POS卡方案-禁止开卡门店
- 功能路径:卡方案-禁止开卡门店
- 功能简介:限制部分门店,指定开卡方案不支持开卡
- 示例图:
9.6 【会员】礼品卡有效期条件优化
- 功能路径:导入礼品卡
- 功能简介:优化导入逻辑
- 示例图:
9.7 【会员】POS-查询会员-支持姓名搜索
- 功能路径:POS-查询会员
- 功能简介:支持通过姓名搜索指定会员或会员卡
- 示例图:
9.8 【会员】成长值卡等级-等级规则
- 功能路径:成长值卡等级-等级规则-获取限制条件
- 功能简介:指定支付方式多倍或不获取成长值
- 示例图:

9.9 【会员】企业客户-导入组织
- 功能路径:企业客户-导入组织信息
- 功能简介:部分企业客户,组织层级数量较大,支持导入对应组织信息,提升实施部署效率
- 示例图:

9.10 【营销】邮件营销增加“退订”、“权益账户”功能
- 功能路径:营销 - 邮件营销
- 使用场景:会员可退订营销邮件
- 功能简介:
- 新增”退订”功能,会员点击退订后,不再接受任何营销邮件
- 新增”权益账户”功能,发邮营销邮件时选择权益账户,会根据规则扣除权益账户中的点数
- 示例图:
9.11 【营销】转盘抽奖下单消费获得抽奖次数支持与订单绑定
- 功能路径:营销 - 营销活动 - 转盘抽奖
- 使用场景:下单未登录会员时可扫码领取抽奖次数
- 功能简介:
- 与会员和订单绑定:消费者下单时,如果注册/登录会员,则抽奖次数与会员绑定;如果未注册/登录会员,则抽奖次数与订单绑定,任意用户通过小票上的二维码注册/登录都可以获得该笔订单对应的抽奖次数,并参与抽奖
- 仅与会员绑定:消费者下单时,必须注册/登录会员才能给会员发放抽奖次数
- 示例图:
10 数据洞察
10.1 【国内需求-兰湘子定制】现金缴存统计表需要增加现金来源渠道
- 功能路径:财务 - 现金缴存 - 兰湘子 - 现金缴存统计表
- 使用场景:按照兰湘子业务场景定制
- 功能简介:
- 示例图:
10.2 门店日结对账优化
- 功能路径:对账 - 系统内对账 - 门店日结对账
- 使用场景:新增按「账单数」和「应收金额」对账
- 功能简介:
- 示例图:
10.3 【国内需求】券汇总表新增「活动名称」 维度和「券引流效率」指标
- 功能路径:餐饮 - 优惠 - 券汇总表
- 使用场景:新增按「活动名称」维度统计,新增「券引流效率」指标
- 功能简介:
- 示例图:
10.4 【SEA环境】菜品汇总表新增「菜品支付优惠」和「计税金额」指标
- 功能路径:餐饮 - 菜品 - 菜品汇总表
- 使用场景:
- 功能简介:
- 示例图:
10.5 【国内需求】部分报表券 id 改成「券模版 id」
- 功能路径:餐饮 - 优惠 - 优惠明细表 & 券核销统计表
- 使用场景:按照券模块 id 查询和统计
- 功能简介:
- 示例图:
10.6 【海外环境】账单明细表 & 销售汇总表 新增「税后销售额」区域指标
- 功能路径:餐饮 - 销售 - 销售汇总表 & 账单明细表
- 使用场景:适配海外环境
- 功能简介:
- 示例图:
10.7 【通用能力优化】日期向上聚合通用能力优化
- 功能路径:餐饮 - 销售 - 销售汇总表 & 餐饮 - 菜品 - 菜品汇总表 & 餐饮 - 优惠 - 优惠汇总表 & 财务 - 营业收款 - 付款汇总表
- 使用场景:根据日期维度向上聚合成月份
- 功能简介:
- 示例图:
10.8 【bug fix】首页退菜金额和退菜统计表退菜金额不一致
- 功能路径:首页
- 使用场景:统计退菜金额
- 功能简介:
- 示例图:
10.9 【bug 修复】菜品预估成本
- 功能路径:餐饮 - 菜品 - 菜品汇总表
- 使用场景:统计菜品预估成本
- 功能简介:
- 示例图:
10.10 【bug 修复】菜品单价更换字段
- 功能路径:餐饮 - 菜品 - 菜品汇总表
- 使用场景:统计菜品原价
- 功能简介:
- 示例图:
11 数说(Insight APP)
11.1 门店目标管理
- 功能路径:我的-设置-门店目标管理
- 使用场景:集团管理员设置门店的各指标的目标
- 功能简介:
- 目标支持按照维度拆解,维度类型支持:就餐类型
- 支持日历设置,可维护休息日/工作日/节假日,添加自定义标签(例如店庆)
- 白名单功能:增加「智能预估目标」功能
- 设置目标后可以按日期进行调整
- 目标达成分析页增加维度分析模块展示
- 示例图:
12 基础服务
12.1 支持门店选择器搜索组织编码
- 功能路径:使用门店选择器的所有业务
- 使用场景:通过组织编码搜索门店
- 功能简介:
- 支持按组织编码搜索门店
- 示例图:
12.2 员工账号支持导出基本信息和角色信息
- 功能路径:集团或门店视角-营运中心-基础服务-人员管理-员工账号
- 使用场景:导出员工信息
- 功能简介:
- 支持两种导出方式,可分别控制权限:
- 批量导出员工账号:导出完整信息,明文显示员工手机号和邮箱信息,包括登录信息中的【登录手机号、登录邮箱】和基础信息中的【联系手机号、联系邮箱】
- 批量导出脱敏员工账号:员工所有手机号和邮箱将脱敏导出,不显示完整信息
- 导出的数据范围由视角+数据权限控制
- 导出数据范围不超过当前视角,比如门店视角导出数据仅为当前门店可见范围内的员工(根据员工所属管理组织归属于当前门店,与角色不直接相关)
- 且仅包含当前登录人的组织数据权限范围内的数据,当前登录人无数据权限的组织下的员工,页面不可见也不可导出。
- 导出字段范围可选,目前支持导出员工基础档案和角色权限相关字段。
- 导出文件将按【集团员工】【门店店员】两个sheet页分别展示数据,门店店员由于仅在当前门店有角色,不存在跨组织分配角色的情况,字段信息会简化一些
- 支持两种导出方式,可分别控制权限:
- 示例图:
- 权限配置
- 权限配置
13 供应链
13.1 发货看板-单据维度支持修改发货价格
- 功能路径:配送中心 - 发货看板 - 单据维度(编辑发货单)
- 使用场景:物料的销售价格有误或调整,需在发货前进行修改价格、税率
- 功能简介:在发货看板中编辑发货单,支持修改物料明细的销售价格、税率,完成对价格的调整
- 示例图:
13.2 调拨单、调拨收货单支持拆分批次
- 功能路径:库存管理 - 调拨单
- 使用场景:针对指定物料批次进行组织内、组织间的调拨业务
- 功能简介:
- 新增、编辑调拨单,已启用批次的物料支持指定批次进行调拨
- 调拨收货:收货时,只能针对上游调拨的批次进行收货,不可修改批次号
- 示例图:
13.3 成套件支持自动分配批次(多批次库存分配)
- 功能路径:发货看板、采购收货单
- 使用场景:修改母件的数量后,自动更新子件批次的数量
- 功能简介:
- 发货单:成套件的子件支持拆分多个批次及自动分配批次;如果修改母件数量,自动更新子件对应批次的数量;
- 修改子件数量导致不齐套时,会清空母件数量;
- 不齐套的情况下,如果子件被拆成新的发货单,不再以套件形态出现,仅展示子件;
- 采购收货单:根据发货单带入的批次进行收货,修改母件数量的批次分配规则与发货单一致。
- 示例图:
13.4 效期物料优化:支持导入、导出、批量设置
- 功能路径:集团视角 - 商品管理(营运中心)/档案管理(供应链)- 效期物料 - 新增/编辑
- 使用场景:快速完成效期物料的设置
- 功能简介:
- 导入、导出为相同的文件,建议先批量添加效期物料,再进行导出,可省掉整理物料编码、单位编码的时间;
- 如果单位编码不维护,则默认使用门店采购单位;
- 支持批量设置效期物料单位、预警时间以及存储条件
- 示例图:
13.5 进销存汇总表增加物料大类,中类,小类统计维度
-
功能路径:报表管理
-
使用场景:进销存汇总表增加物料大类,中类,小类统计维度
-
功能简介:
- 进销存汇总表增加“组织+小类”“组织+中类”“组织+大类”统计维度
- 支持查询范围:集团视角,配送中心视角,门店视角
-
操作示例:
13.6 移动端:采购收货(外采)、手工录入采购入库单支持录入/自动识别发票
-
功能路径:
- 采购管理 - 收货管理 (仅针对外采业务)
- 库存管理 - 采购入库单
-
使用场景:供应商送货时连同发票一起,收货过程中将发票随单录入,或者拍照上传,系统自动识别发票号、发票日期、发票金额并自动填入
-
功能简介:
- 【采购入库单审核时自动生成应付单】参数开启:录入发票信息自动生已审核已对账状态对账单,系统自动生成采购发票
- 【采购入库单审核时自动生成应付单】参数关闭:录入了发票信息后仅支持在采购入库单中查询,系统不生成采购发票
- 发票金额大于入库金额 :发票金额不允许超出本次收货的含税金额,不允许保存,审核
- 发票金额等于入库金额:开票状态为已开票(应付对账管理查询开票状态)
- 发票金额小于入库金额:开票状态为部分开票(应付对账管理查询开票状态)
- 发票支持录入信息与采购收货单可录入发票信息一致
- 通过采购入库单录入发票信息,仅支持在应付对账管理-开票记录中查询
-
操作示例:
13.7 配送中心适配 出入库单列表 采购入库单
-
功能路径:采购入库单
-
使用场景:配送中心适配 出入库单列表 采购入库单
-
功能简介:
- 门店通APP配送中心视角适配出入库单列表
- 门店通APP配送中心视角适配采购入库单
- 采购入库单暂不支持外币业务,外币业务后续支持
- 出入库单列表仅支持采购入库单新增及单据查看,其他业务单据后续支持
-
操作示例:
13.8 发货看板适配运费规则后支持手工修改运费
-
功能路径:发货看板
-
使用场景:发货看板适配运费规则后支持手工修改运费功能
-
功能简介:
- 发货看板,适配运费规则发货单支持手工修改运费(单据维度)
- 发货看板,适配运费规则发货单运费金额增加编辑图标,点击图标在输入框内修改运费金额
- 修改运费金额允许为0
- 发货单拆单后,根据单据中的物料金额进行分摊运费金额
- 退货后,生成的采购退货类型的应付单,金额退回到账户余额
-
操作示例:
14 预订&排队
15 睿管家APP
15.1 餐厅管理-门店档案
- 功能路径:睿管家-工作台-餐厅管理-门店档案
- 使用场景:门店管理员可以在手机端进行编辑门店信息
- 功能简介:
- 门店营业信息
- 餐段班次维护
- 门店基础信息
- 食品安全档案
- 门店格式
- 示例图:
Last updated on:

